原创声明:本文为作者原创,未经允许不得转载,经授权转载需注明作者和出处
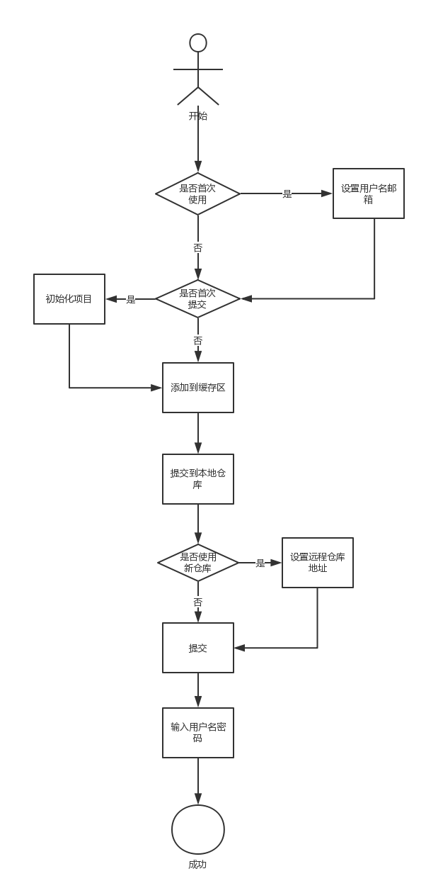
上章我们的源码上传到了github,因此这里不得不简单讲讲git的使用。git是一款免费,开源的分布式版本控制系统(百度百科说的~),查户口的事儿就不讲了,反正我们就是用它来管理项目的,git的使用大致分为两种:图形化和命令行,这里主要讲讲命令。





git clone 地址
地址可以右键命令窗口-paste粘贴


git config --global user.name "你的用户名"
git config --global user.email "你的邮箱"
两条都是输入完回车即可。
git init
回车即可,它会告诉你新建了一个本地仓库在这个位置

git add .
没有报错就说明成功了
git commit -m '提交信息'
这次会爆出一大堆信息,就是告诉你哪些文件被提交到本地仓库了。

git remote add origin 地址

git push -u origin 分支名
我们这里是master




需要注意的是,git的命令没有那么严格,以上像地址,提交信息,名字邮箱啥的,可以用单引号包裹也可以用双引号,也可以不用引号。
有兴趣深入研究git的同学推荐廖雪峰的git教程:http://www.liaoxuefeng.com/wiki/0013739516305929606dd18361248578c67b8067c8c017b000/